ZZK -K Bunting -клапан для стічних вод DN50 - фланця DN300 PN10/16
Наявність квитанції не вдалося завантажити
ZZK-K бренди 3xal це Пограбування клапана з м'ячем Для каналізації та брудної води. Найкращий тип зворотного клапана до каналізаційної системи, оскільки завдяки приготовленій кулі він забезпечує ефективну запобігання потоку, що повертається після завершення.
Кулькові контрольні клапани з коміром ідеально підходять для установок для води та стічних вод, де більшість з'єднань здійснюються в Колларові, а для відкручених нитків немає місця та розповсюдження з'єднань або трубопроводів.
Переваги ZZK-K
- Ефективна запобігання потоку, що повертається
- Висока стійкість до сміття та волокнисті фракції в стічних водах - виліт
- Матеріали, стійкі до агресивної каналізації - EPDM/SS 304
- Тиха робота Завдяки прокатаному кулі
- Інспекційна камера для очищення або заміни м'яча
- Фланцеві з'єднання, які не потребують ковзання елементів (лише послаблення на ущільнювач між комірами)
- Простіші будівлі в установці завдяки гвинтовим з'єднанням
- Діапазон гойдалки
- Максимальний робочий тиск:
- DN50-DN65 10 бар (PN10),
- DN80 -dn100 - 16 бар (PN10/16),
- DN150 -DN200 - 10 бар (PN10)
- Низький тиск ущільнювача від 0,3-0,5 бар

|
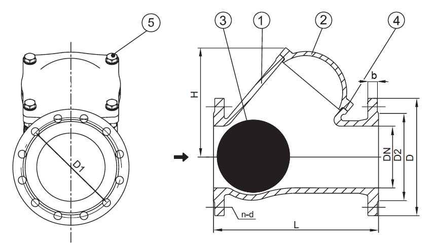
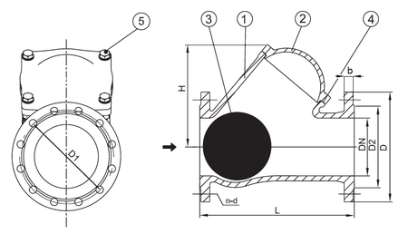
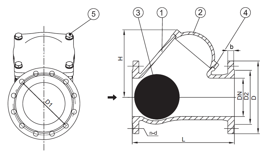
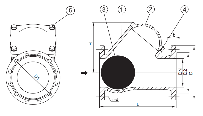
Розміри згідно EN1092-2 PN10/16 |
||||||||
|
ДН |
Л |
Про Р. |
Про D1 |
Про D2 |
N-D |
б |
H |
Терези |
|
DN50 |
200 |
165 |
125 |
99 |
4-19 |
19 |
106 |
8,6 |
|
DN65 |
240 |
185 |
145 |
118 |
4-19 |
19 |
134 |
11,4 |
|
DN80 |
260 |
200 |
160 |
132 |
8-19 |
19 |
155 |
13,2 |
|
DN100 PN16 |
300 |
220 |
180 |
156 |
8-19 |
19 |
192 |
19 |
|
DN150 PN10 |
400 |
285 |
240 |
211 |
8-23 |
19 |
268 |
38,4 |
|
DN200 PN10 |
500 |
340 |
295 |
266 |
18-23 |
20 |
353 |
73,5 |
|
DN300 PN10 |
700 |
460 |
400 |
370 |
12-23 |
24,5 |
509 |
168 |
Матеріальна продуктивність
- Корпус - специфічний чавунний порошок -розфарбований
- Обкладинка - специфічний залізний чавун
- Куля - сталь, покрита EPDM
- Герметизація орбрін - EPDM
- Гвинтові з'єднання - нержавіюча сталь 304
Відповідність стандартам
- EN1092-2 PN16 та AS4087, AS4087 (AS2129 Таблиця e),
- Категорія A Standard ISO5208,
- EN558-1 Серія 48 (DIN3202 F6)
- Випробуваний тиск:
- 1,1x Нормальний тиск для кульової розетки
- 1,5 рази нормальний тиск для корпусу клапана
Встановлення вертикально або горизонтально


3XAL бренд підтверджується високою якістю продукту та його корисністю в системах насосної станції стічних вод та дощової води.